項目名稱:九龍商業中心電能管理系統
項目地點:福州
實施時間:
項目為位于福州市瑯岐島,占地面積41980平方米,總建筑面積97004平方米的商業綜合體。
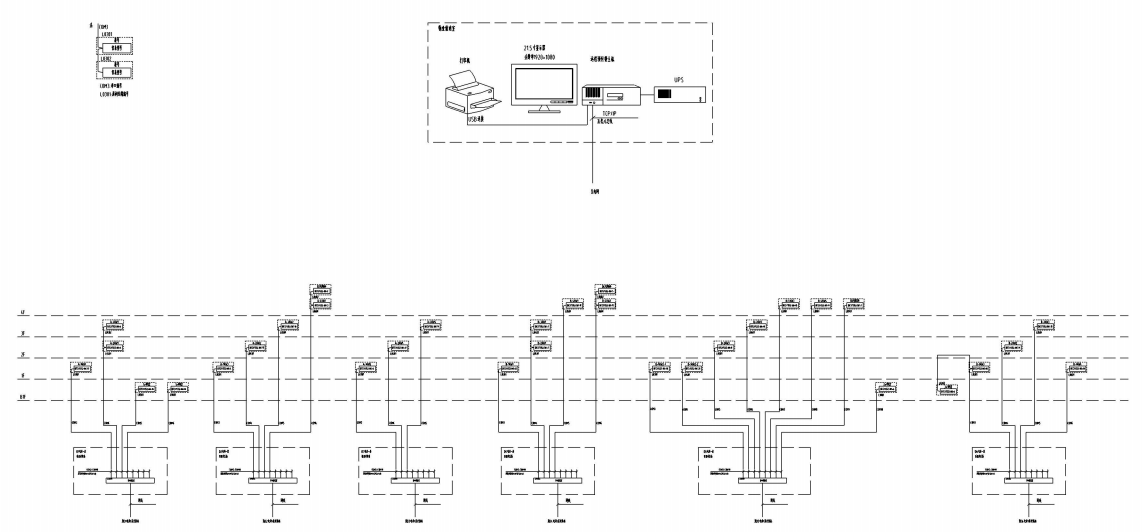
Acrel-3000V7.1電能管理系統,在結構設計和工程配置上充分考慮項目的實際情況,完全的實現相關功能,滿足電力系統線路運行的相關要求,體現系統的各項技術特點。實現分散控制、集中管理、綜合監控。本項目電能管理系統采用分層分布式結構包括站控管理層、網絡通訊層及現場設備層。站控層設置在消防控制室,有主機、顯示器 、通訊管理機等設備組成。可為上級管理系統預留通訊接口,可以進行相關數據信息的轉發和遠傳,從而實現資源信息的共享。
1、數據采集與處理
2、人機交互
3、歷史事件
4、數據庫建立與查詢
5、用戶權限管理
6、運行負荷曲線
7、電能報表查詢
